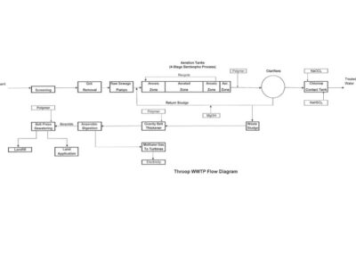
Schematics Click on a schematic for a larger image. Archbald Flow Diagram Clinton Flow Diagram Throop Flow Diagram Contact Info Lackawanna River Basin Sewer Authority P.O. Box 280Olyphant, PA 18447-0280 Phone Number: (570)-489-7563Billing Inquiries: (570)-489-4738 Partners Make a Payment Refund Policy